液壓接頭是連接液壓管路與液壓管路,或管路與液壓元件的之間的連接元件,液壓接頭包含軟管用液壓接頭和硬管用液壓接頭,這里僅介紹軟管用液壓接頭,液壓軟管接頭一段連接液壓軟管(稱為尾端),另一端連接其他元件(終端),為了保證與其他元件連接的兼容和無泄漏密封,液壓軟管接頭的終端需要遵循通用的接口標準進行設計,尾端的主要作用是保證接頭與軟管連接的長久密封。
從接口的形式可以分為如下幾種:
1.O型圈端面密封軟管接頭

1.軟管接頭 2.油口 3.O型圈4.接頭5.螺母6.O型圈,當螺母5與接頭體的外螺紋旋合時,隨著擰緊力矩的增大,軟管接頭與接頭體(件4)的端面之間接觸并壓緊,接頭4端面的O型圈產生彈性變形,與件6和件4端面充分接觸并產生壓力,起到密封作用。
安裝過程中需要特別注意,安裝前檢查密封圈。
2. 24°錐密封端軟管接頭

1.軟管接頭2.O型圈3.油口4.接頭5.螺母,當螺母5與接頭體(件4)的外螺紋旋合時,隨著擰緊力矩的增大,軟管接頭外錐面與接頭體(件4)內錐面之間接觸并壓緊,軟管接頭1外錐面的O型圈產生彈性變形,與件6和件4錐面充分接觸并產生較大的壓力,起到密封作用,由于錐面的杠桿作用,錐面間的壓力更大,密封效果理論上更好。
安裝過程中需要特別注意,安裝前檢查密封圈。
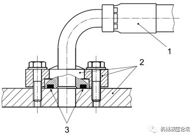
3.法蘭端軟管接頭

1.軟管接頭2. 油口、法蘭頭、法蘭壓板3.O型圈,軟管接頭的法蘭頭被法蘭壓板壓在油口上,當螺栓擰緊力矩增加時,螺栓產生很大的預緊力,螺栓預緊力通過法蘭壓板,把法蘭頭緊緊地壓在油口,法蘭頭上的O型圈(件3)被壓的發生變形,軟管接頭(件1)的法蘭頭端面和油口面充分接觸并產生的壓力,起到密封作用,由于使用高強度螺栓,接觸面間的壓力很大,密封效果理論上非常好。
安裝過程中需要特別注意,安裝前檢查端面O型圈。
4.螺柱端軟管接頭

接頭螺紋根部帶有O型墊圈,接頭通過螺紋與有口連接時,O型圈與油口端面貼合起到密封作用。
5.37°擴口端軟管接頭


1.軟管接頭2. 螺母3.鋼管4.套管,當螺母2與接頭體(件1)的外螺紋旋合時,隨著擰緊力矩的增大,軟管接頭外錐面與鋼管(件3)內錐面之間接觸并壓緊,軟管接頭1件3錐面充分接觸并產生較大的壓力,起到密封作用,由于錐面的杠桿作用,錐面間的壓力更大。
液壓管接頭選取的過程中需要考慮接頭的工作壓力、工作溫度、接口尺寸、適用的管內外徑尺寸、安裝是否方便、是否經濟等多種因素選取。接頭的工作壓力應不低于軟管的工作壓力。